渔光曲-渔光曲原简谱
渔光曲
《渔光曲》高考声乐简谱 969231156
渔光曲c调简单版
渔光曲简谱乐谱
老电影:渔光曲
曾轰动一时的歌曲渔光曲笛子版凄婉悲伤委婉动听
m-441,电影歌曲:渔光曲
海边归来看民国电影《渔光曲》,觉得如同读一部中国历史百科全书
钢琴谱:渔光曲
渔光曲简谱-关牧村演唱-安鹅/任光词曲1
少女时代林允儿yoona666466
柳岩抹胸长裙露肩性感写真
现货 儿童轻便防紫外线长柄小红帽雨伞 卡通雨伞
大公鸡简笔画彩色图片
1200r20卡车轮胎真空载重车轮胎矿山轮胎 厂家直销 工程货车轮胎
兔小妹失踪怎么回事探险遇到了可怕的灵异事件
汽车b柱加强板总成焊接夹具设计
女星杨蓉写真集:颜值担当,女神魅力
古力娜扎和刘以豪撒糖镜头前两人搂搂抱抱cp感快要溢出屏幕
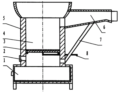
cn201059626y_民用节能火炉失效
校园回忆再见岁月相册绿色渐变毕业季青春不散场画册封面毕业纪念册
锅贴