morso 2140,一款可以温暖整个空间的对流型火炉
火箭柴炉 火箭炉[相关知识]
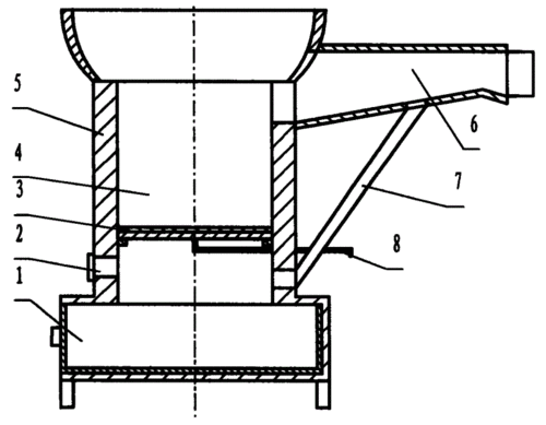
新型火箭炉设计
各式火箭炉合集
室外取暖炉 户外柴火炉便携大号升级家用柴火灶室外取暖拆卸定制
一种火箭炉的制作方法
便携式卡片火箭炉 - 军工模型图纸 - 沐风网
9款diy火箭炉设计(内附:火箭炉桶式烤炉设计)
一种高效安全节能垃圾燃烧炉的制作方法
火箭柴炉rocketstove
涡旋燃烧猛火无烟柴火火箭炉的制作方法
幸福妻子谢娜的时尚晋升之路,就是nayoung!
流氓兔经典可爱卡通
杨超越"女团旧照"曝光!看到当时的身材后,网友:怪不得你能火
遮脸挡脸超帅男头像
12年前,浙江农村盛奶奶收养的黑人小男孩,如今为啥非要考浙大
384_512竖版 竖屏gif 动态图 动图
手动风量调节阀
马克笔手绘动漫女生q版人物
当gpt遇上中国象棋写过文章解过题要不再来下盘棋
兔兔忘羡
包邮gilded reverie lenormand 冥想利诺曼神谕卡 英文烫金定制
谁有航母,战斗机等军事之类的图纸,要有尺寸的.多多益善,谢谢各位啦.