荷包鲤
荷包鲤此鲤鱼和平常的鲤鱼有何不同大师们说唠说唠
婺源荷包鲤元宝鲤红鲤鱼短身观赏鲤鱼招财鱼风水鱼锦鲤淡水冷水鱼
一条14斤的肥硕荷包大鲤,曾被誉为"人间天物"
野钓寻鲤之路意外收获超大荷包鲤
[红鲤批发]荷包红鲤鱼一斤到十斤左右一条都有价格80.
荷包鲤元宝鱼
荷包红鲤
看(⊙o⊙)这条荷包鲤不错吧.
贵州铜仁锦江河夜钓,收获4斤大荷包鲤
格宁炉甘石中药材500g袋装新货250g已质检 卢甘石可磨粉 250g【图片
37岁姚笛瘦到失控小码白裙都撑不出身材细针腿够雷人
漂染的头发多久掉色漂染的头发多久补色
男生头像:王者荣耀男英雄头像
超级仙气的动漫闺蜜头像
韩信飞衡 #王者 #动态壁纸 "衡山如飞,俯临万物"韩信飞衡手机动态
用钱能激励跑步吗?
歪,我的小仙女在吗?
寒冷性荨麻疹手背皮肤病图片
显白发色紫灰色
平板车推车货小推车四轮折叠手推车便携搬运车家用拖车轻便拉货车悍马
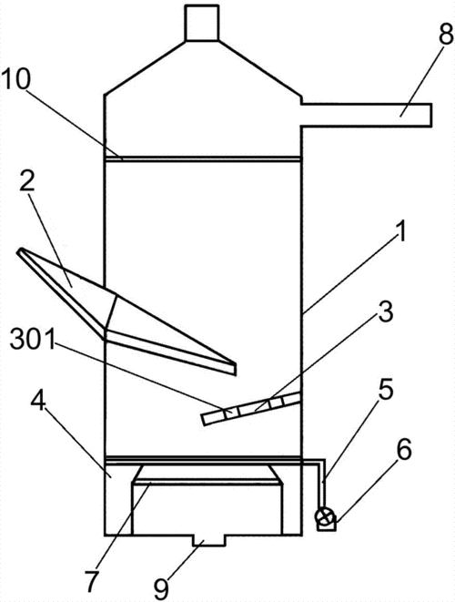
一种垃圾发电的焚烧炉的制作方法