加载中...
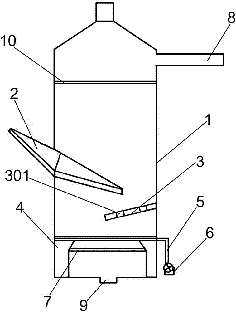
一种垃圾发电的焚烧炉的制作方法

一种垃圾发电的焚烧炉的制作方法

图片尺寸 757x1000
上传时间 2026-03-23 06:28:20

图片链接

缩略图
原图
外链

相关图片

随机推荐