技术 正文 球笼是等速万向节的一种,其还分为两种结构.
后半轴内球笼(右)
一种万向节内球笼-爱企查
球笼式万向节按其内,外滚道结构的不同又可分为球笼式碗形万向节,球笼
固定型球笼式万向节的结构是什么样的?
扫盲贴何为球笼
[h1] 2,球笼式万向节[/h1]
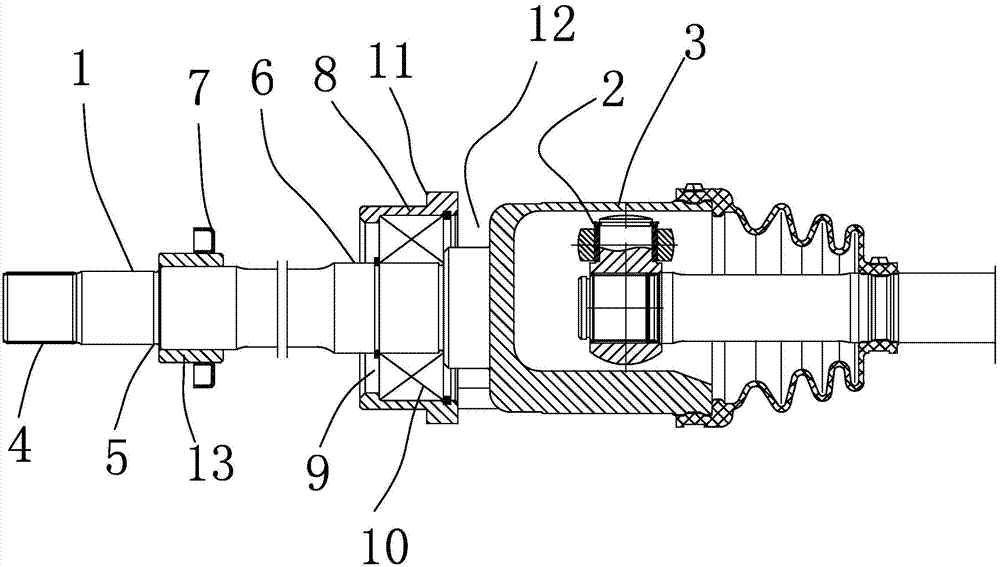
一种等速万向节内球笼组件改良结构-爱企查
是厂家推卸责任,还是现在的车远不如以前?
cn101319694b_钢球十字均布球笼全封闭万向节失效
cn201461766u_等速万向节内球笼总成组件有效
驱动轴内球笼安装步骤
图为张东健夫妇
澳大利亚无尾熊设计图片
kara组合成员韩胜妍5月31日韩国金浦机场街拍 (飞日本)
折纸飞镖教程一击必破气球的手里剑
金刚藏大圆满尊胜咒轮 唐卡描金 佛像涂色 西藏diy手绘填色装饰画
文艺范闺蜜背影头像(源自网络,侵权联删)
像爸爸一样的大哥哥特别会照顾小弟弟,看到这一幕有
1915年6月出生于江苏省武进县.擅长意笔花鸟画,尤以水墨兰竹著称中外.
微笑头像卡通😄
旧故事更怀念 动漫女生头像唯美女生动漫头像霸气霸气冷酷动漫女生
牡丹虎皮玄凤鹦鹉站架实木花椒不锈钢环链栖架其他
小清新绿色唯美清纯女头最新 稀少好看的森系自然干净微信头像女_女生