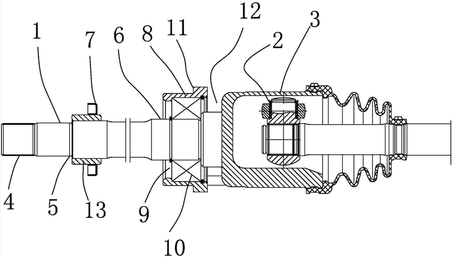
cn203627571u_一种驱动轴总成的内球笼有效
扫盲贴何为球笼
抵触式内球笼-爱企查
是厂家推卸责任,还是现在的车远不如以前?
汽车等速万向节球笼图纸
球笼式万向节按其内,外滚道结构的不同又可分为球笼式碗形万向节,球笼
一种饲喂教养的全自动驯养鸟笼
[h1] 2,球笼式万向节[/h1]
后半轴内球笼(右)
cn201461766u_等速万向节内球笼总成组件有效
一种万向节内球笼-爱企查
国民老公宋仲基军装图片桌面壁纸
麦当劳"方言味"宣传片:想死你了,麦辣! - 广告狂人
女头同一个人系列照片,高清真实的一个小姐姐多张照片头像_女生头像
超隐蔽的情侣头像两张超甜又隐蔽的情侣头像
油漆调色比例参考表.doc
常用颜色调色法颜色调配表颜料调色表大全
宝宝表情图片
儿童成长自律表doc2页
留白.
擦亮水名片云南巧家建设湖滨新城
中国传统纹样一组小蝙蝠
然而在这11部电影中,演唱会电影《五月天人生无限公司》则显得有些