双人可爱动漫闺蜜头像
闺蜜头像女生可爱动漫
可爱闺蜜头像
2萌萌哒的闺蜜头像
2023年动漫闺蜜头像一左一右配对
二次元可爱闺蜜头像两张高清可爱又俏皮二次元闺蜜的图像
闺蜜头像:可爱二次元闺蜜头像,愿有人陪你颠沛流离
闺蜜款头像两张动漫
动漫独一无二的二人闺蜜头像
可爱闺蜜头像两人
独一无二闺蜜头像两张高清图片
动漫头像闺蜜2张
板绘|萌系q版小动物简笔插画
何为孤独,何为如此的孤独,靠着一群朋友的热情来无力抵抗,倍显苍白
让真情自然流露作文
716_1000竖版 竖屏
幼师干货儿歌弹唱100首简谱左手伴奏
几禾花舍日签丨11月17日 奇特的鱼骨令箭
童年时光里最开心的莫过于和玩伴们一起戏水捉鱼摸田螺要是能回到从前
礼之源 招财大号白菜摆件金蟾工艺品公司旺铺乔迁开业礼品家居客厅
星巴克新品-桃桃星冰乐
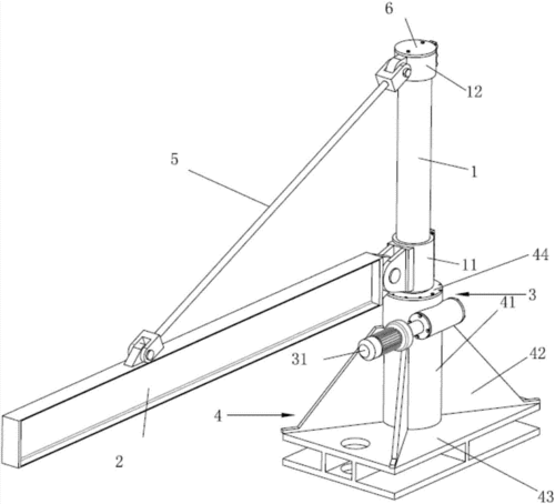
一种电动旋转吊臂,包括立柱机架(1)与立柱机架(1)连接的悬臂梁(2)
牡丹花头像最美的图片_微信头像_头像屋
厂家直供天然黄水晶玉兰花吊坠锁骨链时尚百搭水晶项坠