相关图片
1t悬臂吊下载(147.61 kb,rar格式) 机械cad图纸
可定制移动立柱式悬臂吊 电动360度旋转小型悬臂吊起重机
厂家定制定柱式电动悬臂吊 电动葫芦旋臂起重机 1t2t3t4t5t独臂吊
悬臂吊生产厂家立柱悬臂吊 吊车 小型悬臂吊 手动移动式悬臂吊
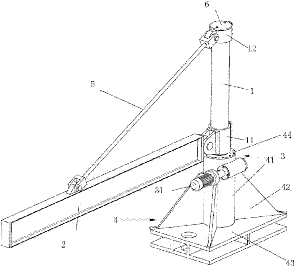
悬臂吊的制作方法
一种滑轮式悬臂吊
5吨悬臂吊旋转机构设计图-设计方案图纸-沐风网
cn213505691u_一种折叠臂的悬臂吊装置有效
钢结构车间用电动旋转悬臂吊图纸1t
悬臂吊电动旋转独臂吊小型悬臂吊摇臂吊升降机手动单臂吊机墙壁吊 200
订做bxd壁式旋臂起重机 旋臂吊 2t 保证品质 优惠销售
供应2021新款手动旋臂吊 定制可360度旋转悬臂吊起重机
随机推荐
动漫日系插画房间室内场景背景原画cg线稿壁纸图片素材 美术资料 –
标题:给我一支烟的时间.(新人作品,请多指教)
钻戒买什么颜色和净度最好,如何挑选钻戒的颜色和净度 – 我爱钻石网
女人的手拿着一杯红酒
少女可爱梦幻仙气头像60张_女生动漫头像_头像屋
抖音最火闺蜜头像双人闺蜜头像一对成双成对
我们将治疗思路来了个180度的大转弯,从重点放松腰部外层肌肉转向调动
399元起抢白雪公主
电影我爱你(love never ends)是一部由韩延执导的作品,它于2023年6月
太喜欢唐艺昕的笑了自关于笑的好看的总结
画里画外都是戏 | 把"复制"这回事做得清新脱俗的,除了他也没谁了
原创周润发离开陈玉莲后因赌气向女星求婚二婚娶陈荟莲一生无子