户外不锈钢柴火炉便携折叠炉圆形烧烤野营柴气炉野餐野炊地灶炉子
一种无烟环保的柴气炉的制作方法
3吨燃气锅炉
关于进藏用柴气炉做饭的柴火问题
家用生物质颗粒燃料炉的试验研究
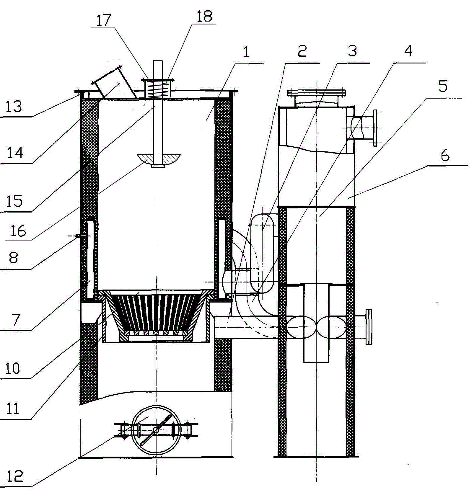
除尘节能高压柴气炉_cn201920056913.3_知雀网
cn2154410y_家用多功能水暖煤气发生炉失效
柴气炉试用记
一种柴气炉制造技术
"现在但凡有过户外经验的基本上最少会有一个炉子但不管气炉还是油炉
wns系列柴油锅炉燃烧机原理图蒸汽锅炉原理和构造图如果按传热方式
紫花洋槐
小星星简谱小星星萨克斯谱
唯美高级感ins风鲜花背景图大全
简约格子背景
tags: fanart, pixiv, durarara!
change in booking是什么意思 change in booking的中文翻译,读音,例
周杰伦晴天#简谱#五线谱 #钢琴简谱 - 抖音
壁纸抖音最火三格拼接壁纸
脊椎椎弓根钉进钉点的确定及手术技巧(内容清晰)
在崇川—佛坪两地对口协作联席会上,佛坪县委副书记,县长王晴对崇川区
中国儿童书架行业市场规模及未来发展趋势
从养成系肌肉男,到行走的健身房,刘畊宏才是最狠的人吧?_网易订阅