民用柴煤两用气化炉产品标准
除尘节能高压柴气炉_cn201920056913.3_知雀网
wns系列柴油锅炉燃烧机原理图蒸汽锅炉原理和构造图如果按传热方式
气混合问题,下边这个炉子结构就要更复杂一点,三层结构(炉子享有美国
一种无烟环保的柴气炉的制作方法
cn2154410y_家用多功能水暖煤气发生炉失效
是一种结构独特的木煤气炉,也叫木柴气化炉(woodgas stove)
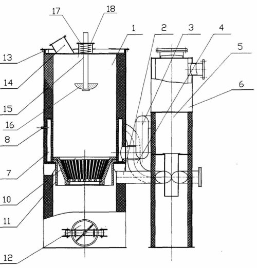
一种使用柴草气化的气化炉
"现在但凡有过户外经验的基本上最少会有一个炉子但不管气炉还是油炉
柴气炉原理和方案设想
下吸式双循环秸秆气化炉
中国名歌[茉莉花]乐谱_歌谱简谱_器乐之家
退
从星座看杨佑宁和他老婆为什么这么甜
发e-mail? 当你思念远方的朋友时, 你是如何表达你的思念?
霸王龙恐龙卡通
天天唱哈利路亚 天天 歌谱 简谱
张恒《温暖的弦》将播 "金牌hr"上线气场全开
steam手机版合集
花树下的长直发清新妹子 纯真甜美至极动人写真
微信朋友圈广告海报
武汉楷模有个退伍兵记武汉盛世旭东汽车贸易有限公司总经理杨东旭
国画东方持国天王