厂家批发 家用采暖燃气壁挂炉 天然气取暖洗浴两用采暖炉
cn202660520u_一种低烟尘双层反烧蒸汽锅炉失效
恒星hx-13保温型反烧锅炉
有色金属合金火焰反射炉熔炼
反烧锅炉价格
介绍逆推川页推复合式垃圾焚烧锅炉的原理及特点,及其产业化的前景.
锅炉维修培训班
多变量预测控制在锅炉燃烧系统中的应用
cn2362048y_反烧常压炉失效
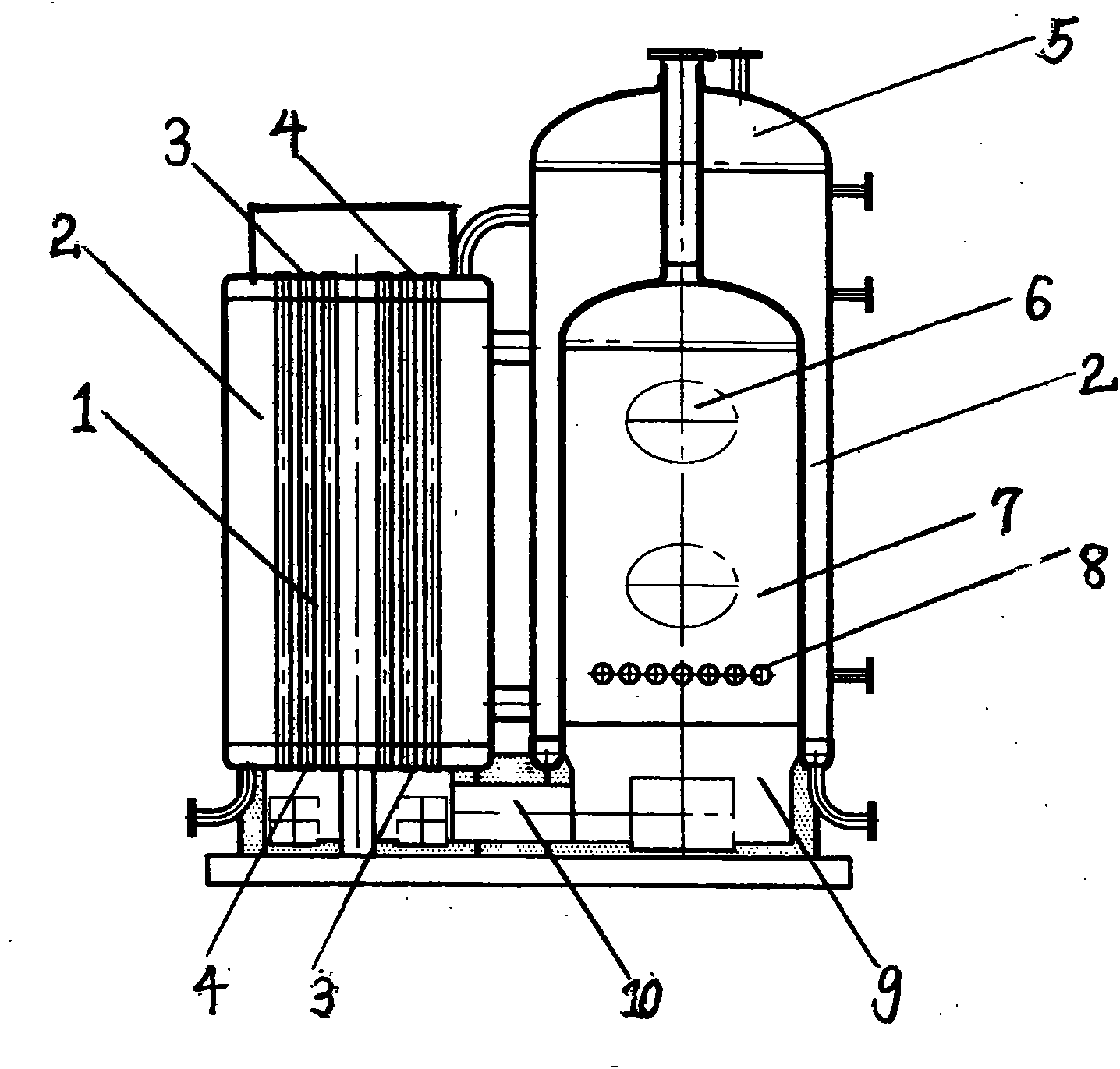
cn106090862a_一种三回程反烧型蒸汽锅炉失效
锅炉
家用燃煤暖气采暖炉气化反烧暖气炉地暖锅炉做饭取暖两用炉子
当老虎攻击骑大象的男子大象会不会怂
西游记86版师徒四人
清明上河图10
风景,人文
这对好甜,小次郎有钱有颜还有猫谁不爱呢_(0728`」 ∠)__twi:gi
可爱涂鸦风朋友圈背景图^>89898989
在上海召开媒体见面会,主演陈乔恩(微博),张翰(微博),高以翔(微博)
spiky hair
638办公装饰海报展板素材669烧烤店开业宣传单
可爱卡通小黄帽委屈可怜同情动态表情包gif原创可爱卡通萌萌兔委屈
有种"意外"叫爱豆体重,张一山110,王一博:给女生留个面子
恒大牌-18支宽盒非卖品(稀有)