介绍逆推川页推复合式垃圾焚烧锅炉的原理及特点,及其产业化的前景.
cn102042676a_一种反烧多回程生物质低碳节能热水锅炉失效
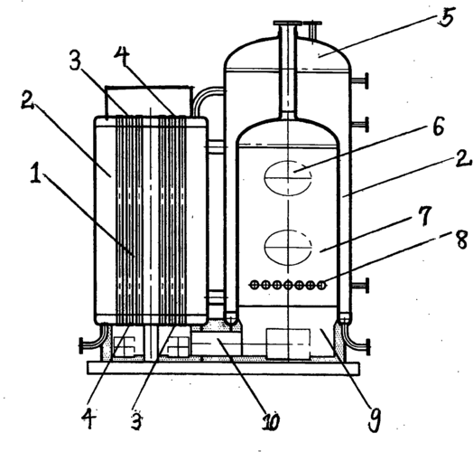
生产食品加工专用小型立式反烧蒸汽锅炉
cn102087020a_一种反烧多回程低碳节能蒸汽锅炉
反烧锅炉价格
cn106090862a_一种三回程反烧型蒸汽锅炉失效
多变量预测控制在锅炉燃烧系统中的应用
厂家批发 家用采暖燃气壁挂炉 天然气取暖洗浴两用采暖炉
家用燃煤暖气采暖炉气化反烧暖气炉地暖锅炉做饭取暖两用炉子
df型多回程反烧气化采暖做饭炉
一种反烧多回程生物质低碳节能蒸汽锅炉
火管式燃煤反烧气化炉-燃煤采暖炉系列-河北京南锅炉厂
喻娄韩国3d立体文具盒小学生铅笔盒儿童可爱卡通笔袋男女孩幼儿园
食玩包装展开图
《白鹿原》何冰,50岁的老戏骨,北京艺人中的台柱子级别的人物
炭治郎
蒸汽波头像.越蒸越有趣 #动漫女头 #二次元 #女生头像 # - 抖音
beautifulworld
谢贤掌掴曾江被王羽要求爬去台湾陈惠敏直言他辈分不够
真实15岁女生头像
摄影棚拍摄的年轻黑人非洲人拿着面具和剪刀在黑暗的房间里
爱我中华[合唱曲谱]
用方格花钩织的美衣 附图解_爱好
袜子白底图拍摄杭州电商拍摄案例