六一国际儿童节唯童心与阅读不可辜负
爱护树木,我爱植树
技术学院与教育管理学院开展了关于保护森林人人有责为主题的绘画活动
保护森林手抄报
少儿书画作品-请保护大自然/儿童书画作品请保护大自然欣赏_中国少儿
保护森林,熊熊有责.
少儿书画作品-《爱护树木》/儿童书画作品《爱护树木》欣赏_中国少儿
线稿 #临摹 #手绘临摹 #保护大自然 #植树节保护森林 #植树节
爱护树木保护环境主题绘画
保护森林手抄报怎么画
其它 你我共成长 保护环境美家园 写美篇《保护森林,保护家园》
怎么画保护森林手抄报简单又漂亮保护森林手抄报内容怎么写
保障性住房浯家公寓工程(地下室及上部主体工程)
老头头像
38岁离异男征婚照片(id:3658223)_湖北武汉征婚交友_我主良缘网
稚嫩可爱的小鸡图片壁纸
50岁的瞿颖气质全开!穿白色衬衫搭配黑色半身裙亮相活动,超洋气
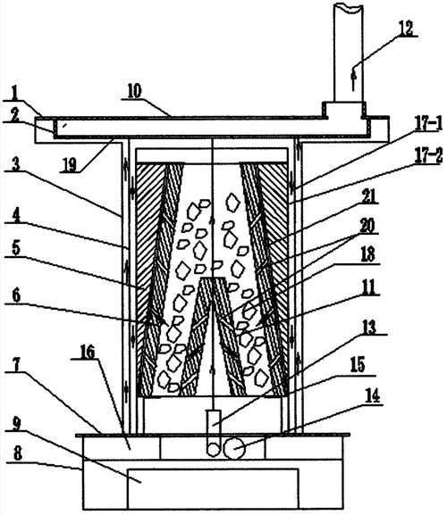
集智节能回风炉
大连乐队演出表演
摄影 #西北师范大学 #秋 #校园 #学摄影 @西北师范 - 抖音
140平米轻奢风客餐厅装修效果图
天使王95壁纸 来啦 动漫#雄兵连3雷霆万钧 天使彦女王 凉冰恶魔
原创马伊琍离婚后越来越潇洒西装配镂空魅力十足口红瞬间减龄
发光的红色钻石