加载中...
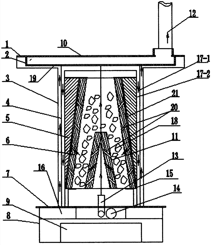
集智节能回风炉

集智节能回风炉

图片尺寸 867x1000
上传时间 2026-03-18 00:27:16

图片链接

缩略图
原图
外链

相关图片

随机推荐