玉米种子发芽及苗的结构
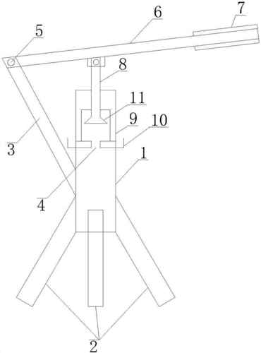
本发明公开了一种小型玉米大豆播种施肥机,包括有机架,机架上架设有
玉米穗 架储全面完工
装袋神器装玉米带滚轮农用粮食撑可移动滑子家用灌支撑架子 加强框架
新型玉米种子脱粒机的原理和结构
手动玉米脱粒机的制作方法
2月7日,黑龙江省宁安市沙兰镇新富村杨占国家的储藏玉米. 摄影:黄丽
幼儿园植物角素材 | 玉米的结构.#幼儿园 #幼教资源共享 - 抖音
供应小型花生播种机
种粮大户把自己的玉米都架篓子啦,引起很多网友的围观和热议
玉米粮仓 #新型玉米架 #圈玉米笼子 #储存晾晒玉米 #新 - 抖音
自走式穗茎兼收型玉米联合收获机的研究
章子怡终于高调一袭烟火斗篷裙携手阿米尔汗走红毯美成女王
新版闽政通app充分尊重用户需求,采用更为简洁明亮的界
78女朋友生日78 html css3 js 实现抖音炫酷樱花3d相册 (含背景
华晨宇壁纸微信朋友圈背景图,文字背景图,图片大全
2021年必须打卡的8款男生发型,绝对时髦
杨幂高清大图壁纸绝美之选
大象,前视图,草 4k
杨洋写真照,阳光帅气的美男子
年轻时的金城武
肖宇梁
日本高中生裙子刷新最短记录这样真的敢穿出去
素描几何透视讲解