加载中...
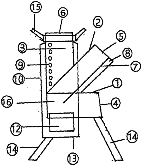
航天技术治雾霾:废气"消毒"烧干净

航天技术治雾霾:废气"消毒"烧干净

图片尺寸 400x489
上传时间 2026-03-22 23:30:26

图片链接

缩略图
原图
外链

相关图片

随机推荐