加载中...
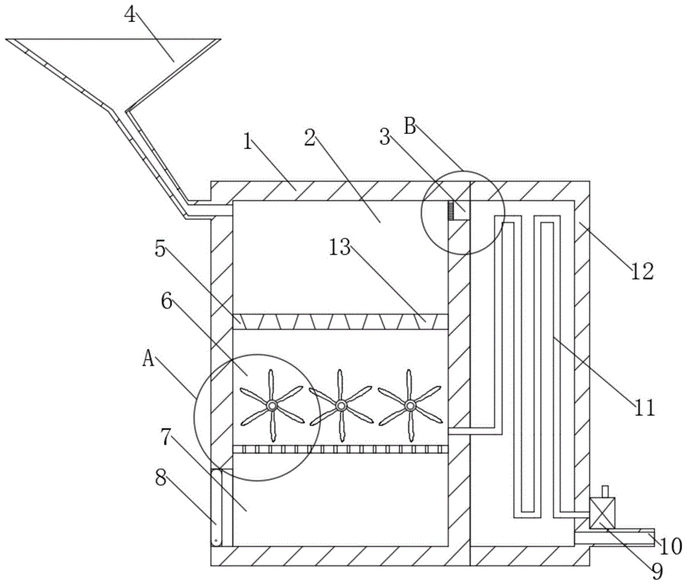
一种小型生活垃圾焚烧炉的制作方法

一种小型生活垃圾焚烧炉的制作方法

图片尺寸 1000x850
上传时间 2026-03-23 06:28:18

图片链接

缩略图
原图
外链

相关图片

随机推荐