各种机器人的机械原理结构简图
最常见的机械原理gif动态合集
机械原理课程设计-铆钉自动冷镦机ppt
机械原理课程设计任务书66784
机械原理课程设计(传动系统设计-授课)ppt
机械原理课程设计
机械原理插床设计大作业
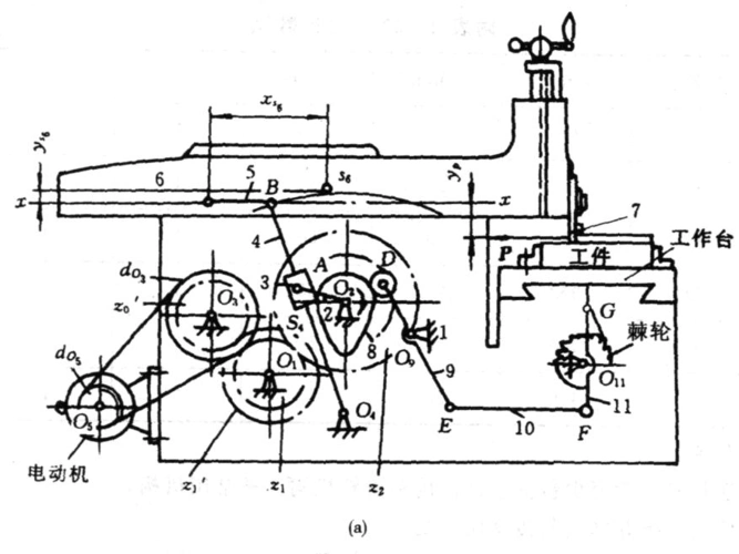
机械原理课程设计之牛头刨床7点和12点
机械原理 齿轮传动问题 齿轮1和齿轮7都是主动轮 已知他们的转速和
机械原理课程设计任务书
一波机械原理动画
ab内衣女士纯棉高腰三角裤中老年妈妈大码抗菌短裤a&b内裤女2822
骑拉帝纳
拜厄钢琴基本教程 视频讲解精注版 儿童初级入门教学用书 钢琴书教程
还有以下的几个几个泡脚搭配,建议收藏:[烟花r]艾草—当归(暗斑)[烟花
好看的在床上趴着或睡着的女生头像
德字行书写法_德行书怎么写好看_德书法图片_词典网
超多可爱简笔画表情包分享.#简笔画 #简笔画教程
首页-罗西尼手表官方旗舰店-天猫tmall.com
你的婚礼父母穿什么艾慕婚纱妈妈装
刚走入失恋阴影的林青霞,把心理寄托全放在秦祥林这里.
1000ml康诺一次性防返流引流袋神灵医用尿袋推拉十字阀蓝色宝塔头
身体螨虫过敏症状图片45