核燃料组件
燃料组件
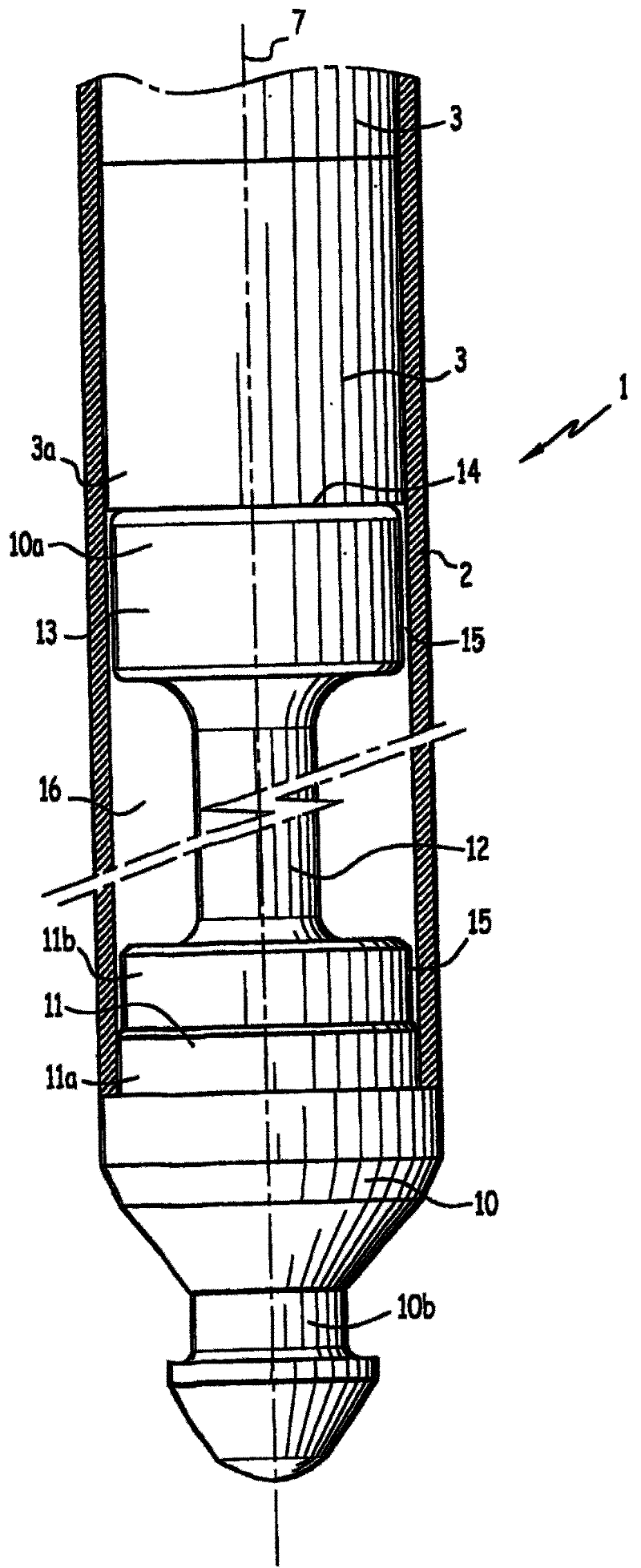
图 (在线彩图)燃料组件结
核燃料丰度核燃料棒
美国因为氢弹的保存太贵而销毁?只有我国有氢弹,这是真的吗?
美国也有「水变氢」
核燃料
核燃料加工产业链的建设会对建设地环境产生什么样的具体影响呢?
人教版高中物理选修3-5全册导学案19.
(三)燃料棒结构选取
燃料棒由燃料芯块区,上下轴向转换区,裂变气体腔以及结构材料等部分
所谓核燃料核废料究竟长什么样
走出离婚阴霾冯绍峰童瑶现身拍戏二人有说有聊冯绍峰笑容灿烂
伤心城市简谱歌谱云菲菲
组图1米84篮球女神笑容甜美被称篮坛江疏影
马彩霞,女,回族,1969年12月出生,在职大专学历.
名家花园微蓝北欧风三居室装修效果图
王天泽个人资料
专业租赁充气类水池 充气大型玩具
华晨宇女友放飞自我穿吊带染黄发简直太有个性
tschum柴火炉德国露营便携取暖炉bc大神毛衣哥同款staysolo户外
变形金刚外传大黄蜂(2018),高清图片-壁纸族
黑板报版面设计图
的人默默祈祷,希望他们在另一个世界也过的很好,愿天堂永远都没有病痛