液压系统原理图pdf
小型液压机液压系统原理图
液压站电路图
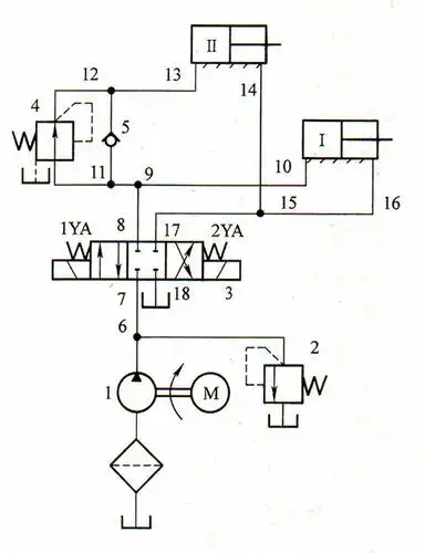
请人指导:下面两个液压原理图是什么回路及其原理,同时请指出图是否有
小松液压系统ppt课件ppt
工作装置液压回路图
装载机液压系统故障诊断
小松挖掘机资料pc技术培训液压系统
小松pc200-5型挖掘机回转故障的诊断与排除-广东美柯玛斯液压有限公司
小型液压机液压系统设计
图6液压系统原理图
达州市河市镇最恶心的公共厕所
中文名称怪物猎人雷狼龙电气同捆套装
我想要ad钙奶_钙奶_ad_想要表情
匍匐前进可爱小仓鼠表情包
木制早教宝宝幼儿益智多孔形状配对积木智力盒十五三孔玩具3周岁
690_1491竖版 竖屏
动漫人物录—铠甲勇士【铠甲】
林永健(中国内地男演员)_尚可名片
首艘国产航母山东舰第一次远海战斗部署就发挥出了其出色的远距离作战
桌子上垫的胶皮油布桌布免洗塑料桌垫子防水加厚家用槕子垫茶几.
男孩生长发育标准表男孩生长发育标准表2021
女生头像|高冷黑长直御姐头像