一种汽车外球笼的制作方法
cn205533834u_一种驱动轴总成中的内球笼防护结构有效
三销轴,十字轴,球笼硬车刀具-pcbn刀具
球笼简图_副本
一种带输入轴稳定结构的内球笼的制作方法
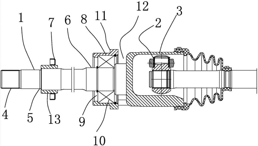
技术 正文 球笼是等速万向节的一种,其还分为两种结构.
cn203627571u_一种驱动轴总成的内球笼有效
cn208010793u_一种驱动轴总成的内球笼结构有效
一种等速驱动轴内球笼-爱企查
所以只要有"内球笼"的车型(只要是独立悬挂的车辆,都有"内球笼"),车轮
一种内球笼总成防护改进结构制造技术
cn201461766u_等速万向节内球笼总成组件有效
红蔷薇大结局催泪来袭
蒂芙尼对戒款式有哪些结婚对戒如何挑选
短发杜鹃的时尚知性美女,不一样的高贵东方气质!
设置头像图片,下载微信头像吉祥2024图片最新版_人物_颜色_进行
一朵太阳花头像
股票精讲-大阳线与大阴线 - 知乎
儿童简笔画
璀璨天空壁画现代玄关装饰画进门入户正对墙走廊过道尽头挂画客厅玄幻
儿童床1.2米单人床小户型1.35m宽白色一米二小床民宿家用实木床
香港tvb 有个男演员叫萧正楠 大陆有个叫… - 知乎
狂拽搞笑老奶奶真人潮流头像罗女士闺蜜摆烂头像合集图片
森林运动会儿童插画大场景