美的ch60型自动电压力锅原理分析
家用电饭锅的设计是:当锅内的温度达到103度时,就会自动切断电源或转
苏泊尔电压力锅cyyb40ya10-90 电路图
厨大煌电热锅 新款多功能韩式电热锅 聚能养生锅批发 跑江湖必备
千叶cp-16恒温式多用电热锅电路
希贵rdk90-a,rdk120-a多用自动不粘电热锅电路图
美的gd150c型多功能不粘电热锅电路图
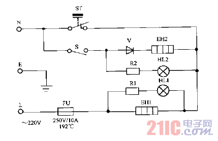
高压锅电路接线图
它由锅盖,内锅,外锅,电热板和控制元件等组成.
金豪cbj128-b多用不粘电热锅电路图
三角crj120a型多功能不粘电热锅电路图
多功能电热锅电路
小公主简笔画
刘燕酿制女人乳房发育全过程是怎样的
暴漫gif蘑菇头gif80后只想搞钱gif挣钱gif搞怪gif逗gif
王源身穿黑色暗纹西装套装和黑色细闪西装套装参加音乐盛典,穿西装好
背影美呆了#女生头像
cp头像一人一半动漫
我的祖国简谱
【组照】大邑:乡村民居及老宅浏览(4)
超大女装大佬天鹅绒连身连体衣不透cd短袜
最美结婚证件照 | 再也不用去民政局冒险啦!-马赛克摄影工作室
抽象到没边到魔性跳舞|表情包|贝利亚_新浪新闻
红衣咬牌的"晶女郎"邱淑贞,到底有多美?