一种无烟型节能回风炉的制作方法
钨粉生产还原炉
一种节能高效环保型回风炉
一种节能回风烤箱炉制造技术
化工垃圾焚烧回转炉用耐火浇注料的选择
一种火力可调式节能环保回风炉的制作方法
农村加厚不锈钢可移动土灶台加厚大锅炉灶烧木柴火炉子¥640券后月销
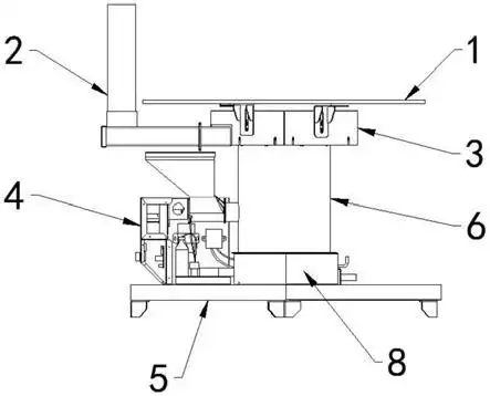
cn204063139u_一种高效回风炉有效
集智节能回风炉
冬季柴火炉农村室内烤火炉多功能无烟节能回风炉烧柴煤炭取暖炉灶单煤
lfs13型管式热风炉结构示意图
今麦郎 方便面 辣煌尚麻辣牛肉面155g*12桶(泡面整箱装)
许戈辉
中国地图绸布版尼龙绸115x085m柔软防水广东地图出版社
吉他谱 | 入门弹唱《送别》
轻奢电视背景墙壁纸格栅大理石纹墙布客厅沙发卧室牀头壁布壁画
钟汉良一家近照曝光妻子背景深厚女儿比小甜馨还可爱
张嘉译家庭合照曝光,其相濡以沫的妻子为我们所熟悉的演员!
全国各地的石氏宗祠,你知道几个?
黑白熊
东方天韵图片
满满爱心意境图片_心中满满都是爱_唯美图片_精品库
12个沙雕动画都市人物素材,有版权带动作#动画制作 #q版人 - 抖音