01)i 分类 锁;钥匙;门窗零件;保
图片链接
缩略图
原图
外链
相关图片
智能锁的结构由锁芯,指纹采集器,锁体等零部件组成,这些部件相辅相成
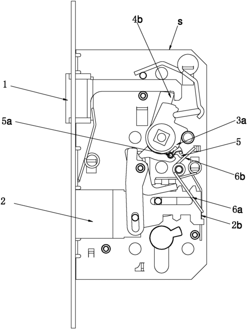
厕所铝合金门门锁反锁失灵维修厕所门锁内部结构原理
最常见的门锁结构你知道是怎样的
这类场合一般采取的方式是在出入门上安装锁具,只有持有对应钥匙的
移门锁折叠门卫生间门钩锁滑动门锁暗装隐形推拉门阳台吊门拉手锁
无钥匙卫生间门锁室内铝合金阳台厨房厕所门把手门锁三件套锁芯舌一套
本商铺经营一下产品:各种分体锁,室内门锁等锁具,各种优质锁芯锁体锌
一种防水型龙头锁结构的制作方法
一种具有防插卡装置的门锁的制作方法
闪电客房执手锁卧室房出租房浴室室内锁把手厕所卫生间整套
门锁 卫生间 本店1118大促会场,全场全年,赶紧来抢,仅此一天,后惠无期
锁厂家——无锡恒之泰五金,就来着重剖析一下平开门执手锁内部的结构