加载中...
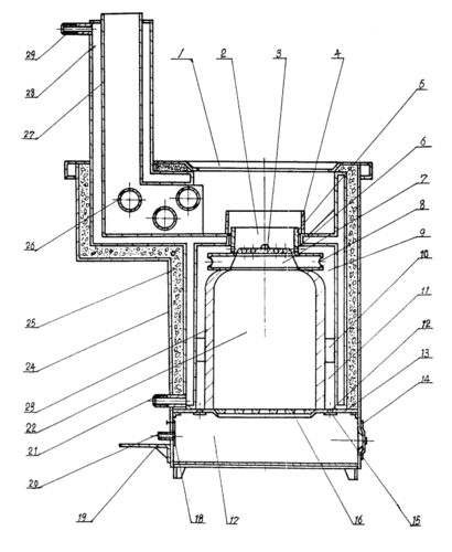
背景技术:柴火炉是广泛应用在户外的燃烧炉,通过直接燃烧木炭,木柴

背景技术:柴火炉是广泛应用在户外的燃烧炉,通过直接燃烧木炭,木柴

图片尺寸 986x1000
上传时间 2026-03-11 05:58:00

图片链接

缩略图
原图
外链

相关图片

随机推荐